New European patent for the Olfasense VOC emission chamber EK1000

New European patent for the Olfasense VOC emission chamber EK1000

Fan construction for a magnetically driven fan of a VOC emission test chamber

As part of the further development of the EK1000, Olfasense is delighted to have been granted a European patent for a new fan construction for a magnetically driven fan for VOC emission test chambers. The European patent is registered under the number 3787158. The unitary effect was added to the register for unitary patent protection on 26 June 2024.

Conventional VOC chambers often have the disadvantage that the fan wheel in the test chamber is driven by a very complex construction, which means a considerable amount of time in the event of maintenance. This can lead to inconvenient downtime in laboratory use. In addition, built-in plastics and lubricants can often have a negative effect on the background concentration of the test chamber.

The patent that has now been granted solves both tasks.

A particular design challenge during development was the bearing of the drive shaft and its pressure-tight, inert sealing in the rear wall were a particular challenge in the design.

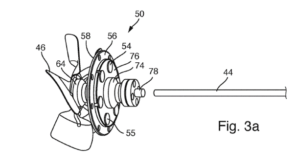
The core of the innovative design is a magnetic power transmission from the shaft driven outside the test chamber to the fan magnetically connected inside the test chamber.

Magnets built into discrete magnetic seats outside and inside the test chamber (e.g. item 54, Fig. 3a) ensure, in their spatial arrangement, a direct transmission of the rotational movement to the fan. This innovation works completely without plastics and lubricants in both the bearing and the sealing, which has a positive effect on the background concentration of the test chamber (see also news on EK1000 calibration from 2 February 2021).

Ventilator Olfasense VOC emission chamber EK1000

The replacement of the drive shaft and the fan takes less than 2 working hours on site. Your chamber is quickly ready for use again in the event of maintenance.

We thank Dietmar Mannebeck and Meik Fernberg for their innovative spirit.

Contact us to find out more about the new patent – also if you are interested in upgrading the drive system currently installed in your VOC emission test chamber.

Via the following link you can find out more about our EK1000 VOC emission test chamber. Our digital showroom also enables you to experience our chamber virtually. Contact us for an individual online presentation of the EK 1000.

Marc Andresen
Head of Sales
T: +49 431 220 12 14
E: mandresen@olfasense.com

Contacto

    Para obtener directamente una cotización, envíenos su dirección de facturación y entrega, así como su número de identificación fiscal. En caso de que desee una oferta personalizada, describa brevemente su aplicación.

    mostrar política de privacidad

    Este formulario está protegido por reCAPTCHA. Consulta la Política de Privacidad y las Condiciones del Servicio de Google.

    Síganos

    ¿Conoce nuestra Noseletter?

    Le mantendremos informado sobre el tema de los olores

    Suscripción al boletín

    o síganos en las redes sociales